距离保时捷做出那个颇具争议的决定(在991代的911 GT3上取消六速手动变速箱,只提供七速PDK双离合变速箱)已经过去十三年了。当时的反对声非常大,以至于保时捷在991.2代车型上改变了路线,不仅为GT3带回了手动挡,此后更是成为多款911车型的选配。

虽然近年来手动挡有小幅回暖,但是在电气化浪潮席卷整个行业的大背景下,手动挡的时间已经不多了。不过,保时捷近期公布的一项专利表明,它还是想延续手动挡的生命,方式就是将其与自动变速箱相结合。这个想法并非创新,柯尼塞格已经推出过类似的概念。

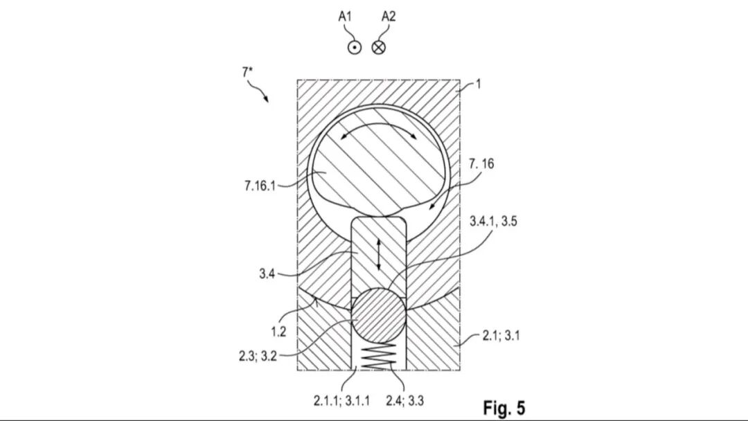
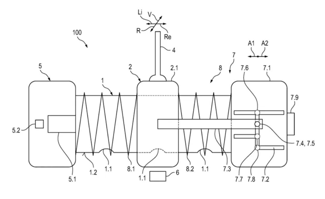
这项有趣的专利于2024年8月提交,但直到本月才公布。其中描述了一套与柯尼塞格CC850和Chimera超跑所使用的变速箱相似的设置。在那台瑞典超跑上,换挡杆可以设置在“D”挡,让它像传统自动变速箱一样工作,但驾驶者也可以切换到需要使用离合器踏板的六速手动模式。

据报道,保时捷的这套系统在自动模式下可能包含“D”挡、“N”挡和“R”挡,通过向前或向后拨动换挡杆来选择。而那些追求驾驶体验的人,则可以将换挡杆切换到一个专门的H型挡位模式,此时它的功能就像一台传统的手动变速箱。

开发这样一台变速箱将是困难且昂贵的。以柯尼塞格的系统为例,它能实现主要归功于该品牌自研的变速箱,它使用了六个独立的离合器和三根传动轴,并辅以大量电子系统,可以让离合器踏板和换挡杆的操作感受接近传统手动变速箱。

毋庸置疑,保时捷的工程师们有能力打造出类似的东西,但真正的挑战在于让它具备商业可行性。柯尼塞格可以将极高的工程成本,通过售价数百万美元的超跑转嫁给客户,因为复杂性本身就是其吸引力的一部分。

相比之下,保时捷则需要这类变速箱在价格低得多的量产车中具备合理性。这是一个非常困难的要求,特别是考虑到保时捷现有的手动和PDK变速箱已经非常成熟。

话又说回来,既然一部分客户执意要开手动挡,而另一部分则偏爱PDK的便捷,也许魏斯阿赫的工程师们可以找到一个能让双方都满意的方法。
