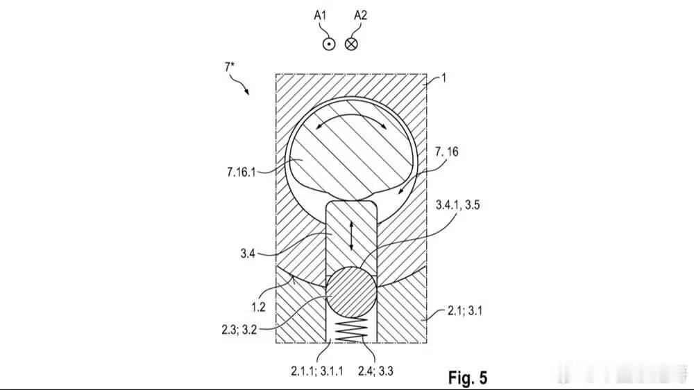
大v聊车 保时捷注册手动 自动一体变速箱专利|||保时捷注册了一个新变速箱专利,可以在自动变速箱模拟手动挡的操作,除了自动模式外,手动模式可以通过前后左右移动换挡,底层实际是利用线控模拟完成,但感受和手挡基本一致。为了复刻机械感,保时捷在机构中加入了电控锁止件和弹簧。当你切换到手动模式时,挡杆会产生明显的“吸入感”和物理阻力,让你感觉像是真正手动挡变速箱;如果该专利量产,将提升自动变速箱的乐趣




大v聊车 保时捷注册手动 自动一体变速箱专利|||保时捷注册了一个新变速箱专利,可以在自动变速箱模拟手动挡的操作,除了自动模式外,手动模式可以通过前后左右移动换挡,底层实际是利用线控模拟完成,但感受和手挡基本一致。为了复刻机械感,保时捷在机构中加入了电控锁止件和弹簧。当你切换到手动模式时,挡杆会产生明显的“吸入感”和物理阻力,让你感觉像是真正手动挡变速箱;如果该专利量产,将提升自动变速箱的乐趣



